The clamps are made from Copper Alloy such as C955 using fine accurate shell moulding. Used to connect various size Grounding Conductors, as well as pole line apparatus to Grounding Conductors. They are used mainly in the telecom industry.
Bolt and washer formed from 304 Stainless Steel for maximum corrosion resistance.
Tight compression on ground wires ensuring the Connector doesn't loosen under vibration.
At Conex India, we specialize in manufacturing, supplying, and exporting top-notch Bronze Vise Connectors and other Bronze components. Our Vise Connectors offer a reliable, solderless connection between ground wires, ensuring a secure and vibration-proof link. Made from corrosion-resistant, high-strength bronze, our connectors feature a unique V-groove design that properly aligns conductors for maximum engagement.

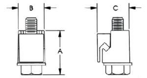
| Bronze Vise Connector | |||||||
| Serial Number | A (in) | B (in) | C (in) | Standard Pack | Conductor Diameter Range | Bolt Thread Size | Bolt Hex Head Size |
| 1 | 1.33 | 0.81 | 0.93 | 200 | 6 sol - 2 sol | 5/16" | 9/16" |
| 2 | 1.72 | 0.8 | 1.03 | 100 | 4 sol - 1/0 str | 5/16" | 9/16" |
| 3 | 1.91 | 0.94 | 1.19 | 100 | 3 sol - 2/0 str | 3/8" | 9/16" |
| 4 | 1.52 | 0.79 | 0.93 | 200 | 5 sol - 2 str | 5/16" | 9/16" |
| 5 | 1.13 | 0.73 | 0.83 | 200 | 8 sol - 4 str | 5/16" | 9/16" |
| 6 | 2.14 | 0.95 | 1.27 | 80 | 1/0 str - 4/0 str | 3/8" | 9/16" |
| 7 | 0.88 | 0.64 | 0.73 | 200 | 10 sol - 6 str | 1/4" | 3/8" |
Our Bronze Vise Connectors are designed for fast and easy installation, with a one-piece, side-opening design that eliminates loose parts, cross-threading, and simplifies installation on run conductors. We use copper alloy C955 and precise shell molding for our clamps, ensuring durability and reliability.

| Bronze Vise Connector | ||||||||
| Serial Number | A (in) | B (in) | C (in) | D | Standard Pack | Conductor Diameter Range | Bolt Thread Size | Bolt Hex Head Size |
| 1 | 1.02 | 0.77 | 2 | 1/2" - 13 | 100 | 8 sol - 1/0 str | 5/16" | 9/16" |
| 2 | 1.02 | 0.77 | 1.5 | 1/2" - 13 | 100 | 8 sol - 1/0 str | 5/16" | 9/16" |
| 3 | 1.02 | 0.77 | 2 | 3/8" - 16 | 100 | 8 sol - 1/0 str | 5/16" | 9/16" |
| 4 | 1.02 | 0.77 | 1.75 | 1/2" - 13 | 100 | 8 sol - 1/0 str | 5/16" | 9/16" |
We offer a range of Bronze Vise Connectors to suit various applications, including:
- Connecting grounding conductors of different sizes
- Connecting pole line apparatus to grounding conductors
Our commitment to quality control ensures that only products that pass rigorous testing are exported to our customers. We also offer custom parts manufacturing according to customer drawings and specifications, with finishing options available to meet customer requirements.
Trust Conex India for reliable, high-quality Bronze Vise Connectors and exceptional customer service. Contact us today to learn more about our products and services.

| Bronze Vise Connector | ||||||||
| Serial Number | A (in) | B (in) | C (in) | D | Standard Pack | Conductor Diameter Range | Bolt Thread Size | Bolt Hex Head Size |
| 1 | 1.02 | 0.77 | 2 | 1/2" - 13 | 100 | 8 sol - 1/0 str | 5/16" | 9/16" |
| 2 | 1.02 | 0.77 | 1.5 | 1/2" - 13 | 100 | 8 sol - 1/0 str | 5/16" | 9/16" |
| 3 | 1.02 | 0.77 | 2 | 3/8" - 16 | 100 | 8 sol - 1/0 str | 5/16" | 9/16" |
| 4 | 1.02 | 0.77 | 1.75 | 1/2" - 13 | 100 | 8 sol - 1/0 str | 5/16" | 9/16" |
Bronze Vise Connectors